Клапан предохранительный Т-131мс: Описание, характеристики и условия эксплуатации

Соответствуют требованиям Технического регламента «О безопасности машин и оборудования» ТР ТС 010/2011;
Технического регламента «О безопасности оборудования, работающего под избыточным давлением» ТР ТС 032/2013;
ТУ 3742−001−32 640 072−2018 «Клапаны обратные поворотные стальные DN 50−1200мм PN 10−63 кгс/см2;
ГОСТ 33 423–2015 «Арматура трубопроводная. Затворы и клапаны обратные. Общие технические условия», Руководства по безопасности «Рекомендации по устройству и безопасной эксплуатации технологических трубопроводов» и комплектов конструкторской документации, утвержденной в установленном порядке
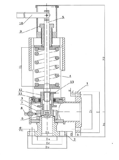
Клапан предохранительный Т-131мс
SKU: 700.954.29
р.
р.
Предохранительный клапан Т-131мс предназначен для автоматической защиты трубопроводных систем, оборудования и емкостей от избыточного давления. Он срабатывает, как только давление в системе превышает допустимый уровень, сбрасывая часть рабочей среды для нормализации параметров. Этот клапан нашел широкое применение в системах, работающих с жидкостями, паром, газом и другими средами.
Ключевые особенности:
Надежная защита от превышения давления в трубопроводах, емкостях и резервуарах.
Широкий диапазон рабочих сред: вода, пар, газы, нефтепродукты и другие технологические жидкости.
Автоматическое срабатывание при превышении установленного уровня давления.
Условия эксплуатации предохранительного клапана Т-131мс:
  • Температурный диапазон: от -40°C до +300°C, что делает его пригодным для работы в условиях высоких температур и агрессивных сред.
  • Рабочие среды: вода, пар, газы, нефть, нефтепродукты и другие жидкости. Клапан может эксплуатироваться в различных промышленных средах, включая химические и нефтехимические производства.
  • Рабочее давление: Настраиваемое значение в зависимости от требований системы и проекта.
Технические данные предохранительного клапана Т-131мс:
Диаметр условного прохода: В зависимости от исполнения может варьироваться для различных применений.
Номинальное давление: Обычно от 10 до 16 бар, что позволяет использовать клапан в системах среднего и высокого давления.
Тип соединения: Резьбовое или фланцевое соединение, обеспечивающее простоту установки и герметичность соединений.
Материалы основных деталей предохранительного клапана Т-131мс:
  • Корпус: Изготавливается из нержавеющей или углеродистой стали, что обеспечивает высокую устойчивость к коррозии и механическим нагрузкам.
  • Уплотнительные элементы: Используются современные материалы, такие как фторопласт или резина, которые обеспечивают герметичность и долговечность даже при высоких температурах и агрессивных средах.
  • Пружина: Из высококачественной стали с антикоррозийным покрытием, что обеспечивает долгий срок службы и стабильность работы клапана.
Показатели надежности предохранительного клапана Т-131мс:
Высокая надежность и герметичность: Клапан обеспечивает надежную защиту от избыточного давления, предотвращая аварийные ситуации и утечки рабочей среды.
Долговечность: Средний срок службы клапана составляет 10-15 лет, при условии регулярного технического обслуживания и правильной эксплуатации.
Стабильность срабатывания: Предохранительный клапан обеспечивает точное и стабильное срабатывание при заданных параметрах давления.
Минимальные затраты на обслуживание: Клапан требует минимального ухода и не нуждается в частом ремонте, что снижает эксплуатационные расходы.
Применение:
Предохранительный клапан Т-131мс широко применяется на промышленных предприятиях в системах теплоснабжения, водоснабжения, газоснабжения, в нефтегазовой и химической промышленности. Он служит основным элементом безопасности для предотвращения аварий, связанных с избыточным давлением.
Этот клапан — универсальное решение для многих отраслей, требующих надежной защиты трубопроводов и оборудования от избыточного давления.
Описание